服务热线: 19505256258
Welcome To  Yangzhou Xinhongnuo Environmental Protection Technology Co.,Ltd.
扬州鑫弘诺环保科技有限公司
Yangzhou Xinhongnuo Environmental Protection Technology Co.,Ltd.
产品搜索:      空气流量指示器      丨      气体检测      丨      调流平衡阀      丨      接头      丨      防振

对夹式蝶阀BFV-WB

  
WAFER TYPE BUTTERFLY VALVE
法兰对夹式蝶阀
SPECIFICATION 规格
FOR BS 4504 PN10 / PN16 FLANGE MOUNTING FACE-TO-FACE DIMENSION TO ISO 5752 / BS 5155 / BS EN 593
LEVER / WORM GEAR OPERATOR
法兰规格符合BS 4504 PN10/PN16 阀门长度符合ISO 5752/BS 5155/BS EN 593
手杆式/蜗轮式

Working Pressure工作压力
16 bar
Testing Pressure测试压力
Shell(阀体) : 24 bar
Seat(阀座) : 17.6 bar
Working Temperature 工作温度
-20˚C to 110˚C (EPDM Seat)
-10˚C to 80˚C (NBR Seat)
Suitable Media 介质
Water, Oil & Gas 水/油/气体

MATERIALS 材质表

Part 部件
Material 材质
BS 英标
Body 阀体
Cast Iron 灰铸铁
Ductile Iron 球墨铸铁
A126 Class B
A536 Cr65-45-12
Disc 阀板
Ductile Iron 球墨铸铁
Aluminum Bronze 铝青铜
Stainless Steel 304 不锈钢304
Stainless Steel 316 不锈钢316
A536 Cr65-45-12
B148 C95400
A351 CF-8
A351 CF-8M
Seat 阀座
EPDM 乙丙橡胶
NBR 丁腈橡胶

Shaft 阀杆
Stainless Steel 410 不锈钢410
Stainless Steel 431 不锈钢431
Stainless Steel 316 不锈钢316
A276 S410 00
A276 S43100
316 S16
Taper Pins 销
Stainless Steel 316 不锈钢316
316 S16
Handle 手柄
Carbon Steel 碳钢

O-Ring O型圈
NBR 丁腈橡胶

Bushing 衬套
PTFE 特氟龙
(DN50 ~ 600)
Luberized Bronze  Luberized青铜
(DN50 ~ 1000mm)
B62 C83600

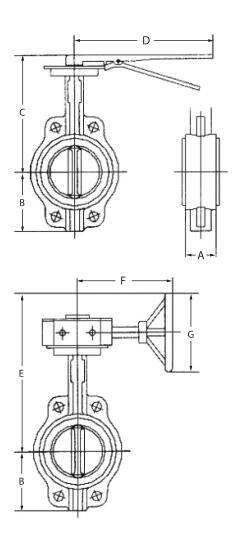
DIMENSIONS 口径尺寸

Size
[mm]
A
[mm]
B
[mm]
C
[mm]
D
[mm]
E
[mm]
F
[mm]
G
[mm]
Cv
90°
50
42 80 191 265 270 158 145 135
65 45 89 205 265 284 158 145 220
80 45 95 211 265 290 158 145 302
100 51 114 230 165 309 158 145 600
125 54.5 127 243 265 309 158 145 1022
150 54.5 139 256 265 335 158 145 1579
200 59.6 175 294 358 438 232 285 3136
250 67 203 326 358 470 232 285 5340
300 75.5 242 371 358 515 217.5 285 8250
350 75.5 267 - - 546 217.5 285 11917




SPECIFICATION  规格
DOUBLE-STAGE WORM GEAR OPERATOR
双级传动式蜗轮驱动器
PRESSURE / TEMPERATURE RATINGS 压力/温度等级
Working Pressure工作压力
16 bar (400mm ~ 600mm)
10 bar (700mm ~ 1000mm)
Testing Pressure测试压力
Shell (阀体) : 24 bar (400mm ~ 600mm)
15 bar (700mm ~ 1000mm)
Seat(阀座) : 17.6 bar (400mm ~ 600mm)
11 bar (700mm ~ 1000mm)
Working Temperature 工作温度
-20˚C to 110˚C (EPDM Seat)
-10˚C to 80˚C (NBR Seat)
Suitable Media 介质
Water, Oil & Gas 水/油/气体

DIMENSIONS 口径尺寸
Size
[mm]
A
[mm]
B
[mm]
Double-Stage Worm Gear Operator
Cv
90°
C
[mm]
D
[mm]
E
[mm]
F
[mm]
G
[mm]
H
[mm]
400 87/102 316 686 104 328 104 279 302 16388
450 106/114 334 709 104 328 104 279 302 21705
500 132 370 767 142 328 145 305 302 27908
600 152 468 851 142 394 145 305 391 43116
700 165 530 1011 173 457 173 358 424 49500
800 190 602 1046 173 457 173 358 424
68250
900 205 661 1196 201 480 203 409 424
86375
1000 218 724 1275 201 480 203 409 424
119750


Note:
1. Actuator mounting fange conforms to ISO 5211 drilling.
2. The butterfy valve can be supplied with electric or pneumatic actuator.
3. Pneumatic actuators are available in spring return or double acting.
4. Micro switch / limit switch box are available upon request.
5. JIS B2239 10K, ASTM Class125 & Class100, and other fange standards available upon request.
6. If used for gas application, please consult our sales ofce.
7. Design and specifcations are subject to change without prior notice.

备注 :
1. 驱动法兰按ISO 5211标准。
2. 可选电动,气动执行器。 
3. 气动执行器有单作用或双作用可选。
4. 可加装限位开关。 
5. 可提供JIS B2239 10K, ASTM Class125 & Class100及其他法兰连接标准的产品。 
6. 如应用于气体,请联系我司确认。 
7. 设计和规格如有修改,恕不另行事先通知。